Каталог товаров

Клапан противопожарный ОЗ

Клапан противопожарный ОЗ изготавливается с режимами работы: (НО) нормально открытый; (НЗ) нормально закрытый.
СДЕЛАНО В РОВЕН
Описание товара
Характеристики моделей
Купить

Описание 

Клапан противопожарный ОЗ изготавливается с режимами работы: (НО) нормально открытый; (НЗ) нормально закрытый.
Нормально открытый НО (закрываемый при пожаре) предназначен для блокирования распространения огня и продуктов горения по воздуховодам, шахтам и каналам систем вентиляции и кондиционирования при пожаре в зданиях и сооружениях различного назначения. Клапан устанавливается в проемах или в местах прохода указанных систем через противопожарные преграды с нормируемым пределом огнестойкости (противопожарные стены, перегородки и перекрытия).
Нормально закрытый (НЗ) (открываемый при пожаре) предназначен для открывания проемов и каналов для удаления дыма и газа в системах приточной и вытяжной противодымной вентиляции, а так же из помещений защищенных установками газового и порошкового пожаротушения. Клапан устанавливается в проемах стен, перекрытий, подвесных потолков, а также на участках воздуховодов.
При заказе клапана следует учитывать требуемый предел огнестойкости EI (60, 90, 120, 180) где:
E – потеря целостности. Она проявляется образованием в конструкции сквозных отверстий или трещин, через которые на обратную (необогреваемую) поверхность проникают продукты горения и (или) открытое пламя.
I – потеря теплоизолирующей способности. Она характеризуется повышением температуры на необогреваемой поверхности конструкции до предельных значений.
60, 90, 120, 180 – количество минут от начала огненного воздействия до проявления одного или нескольких признаков предельных состояний.
Применение клапанов осуществляется в соответствии с требованиями СП 60.13330-2020, СП 7.13130.2013 и действующими территориальными строительными нормами. 

Конструктив 

Клапаны состоят из:

  • оцинкованного корпуса;
  • заслонки из гипсовой плиты (для круглого клапана ОЗ);
  • заслонки из стекломагнезитового листа (для прямоугольного клапана ОЗ);
  • терморасширяющегося уплотнителя;
  • привода управления заслонкой.
Конструктивно клапаны изготавливаются:
  • односекционные ОЗ-60 (EI 60);
  • двухсекционные ОЗ-90 (EI 90), ОЗ-120 (EI 120), ОЗ-180 (EI 180). В двухсекционных клапанах, между секциями проложен огнеупорный материал, выполняющий роль температурного шва. 

Условия эксплуатации 

Климатическое исполнение и категория размещения У3 или УХЛ2 по ГОСТ 15150-69. Для применения клапана в условиях климатического исполнения УХЛ2, привод клапана оснащается нагревательным элементом (ТЭНом).
Температура перемещаемой среды:

  • для климатического исполнения У от -30 °С до +40 °С;
  • для климатического исполнения УХЛ от -60 °С до +40 °С.

Относительная влажность не должна превышать 80 % при температуре +20 °С по ГОСТ 15150-69.
Окружающая среда не должна содержать агрессивных паров и газов в концентрациях, разрушающих металлы, лакокрасочные покрытия и изоляцию.
Клапаны не подлежат установке в помещениях категорий А и Б по взрывопожароопасности, в системах вентиляции и местах отсоса взрывопожароопасных и агрессивных сред, а также в системах, не подвергающихся очистке от горючих отложений.

Удельное сопротивление дымогазопроницанию*

L*H, мм

(проходное сечение клапана)

D, мм

(диаметр проходного сечения клапана)

Удельное сопротивление, м3/кг

100*100...500*500

100...315

не менее 12000

свыше 500*500...1000*1000

355...710

13000...25000

свыше 1000*1000...1500*1000

800

свыше 25000

* Удельное сопротивление указано для цельного клапана (не в виде кассет) согласно таблицам типоразмерного ряда.

Схемы установки клапанов

Схемы установки клапанов ОЗ.jpg

Схемы установки клапанов ОЗ_описание.jpg


Файлы
Клапаны противопожарные ОЗ.pdf

Клапаны противопожарные ОЗ прямоугольного сечения

Клапаны противопожарные ОЗ прямоугольного сечения изготавливаются с шагом 50 мм.

Типоразмерный ряд клапанов прямоугольного сечения

Тип клапана

Обозначение клапана

Проходное сечение (L*H), мм (с шагом 50мм)

минимальное

максимальное

цельного клапана

кассетного исполнения

Канальный

ОЗ-60, ОЗ-90, ОЗ-120, ОЗ-180

100*100

1500*1000

3000*2000

Стеновой

ОЗ-60, ОЗ-90, ОЗ-120

250*250

1000*1500

2000*3000

* Цельные клапаны размером свыше максимального изготавливаются в кассетном исполнении.

Маркировка ОЗ прямоугольные.jpg

Примеры записи:
ОЗ-60-НО-1000*700(ЭМ/220)-К-СН
ОЗ-90-НО-1850*950(М-Iк/220)-К-СН
ОЗ-120-НЗ-1100*800(Р-Iк/220)-С-ВН-3и

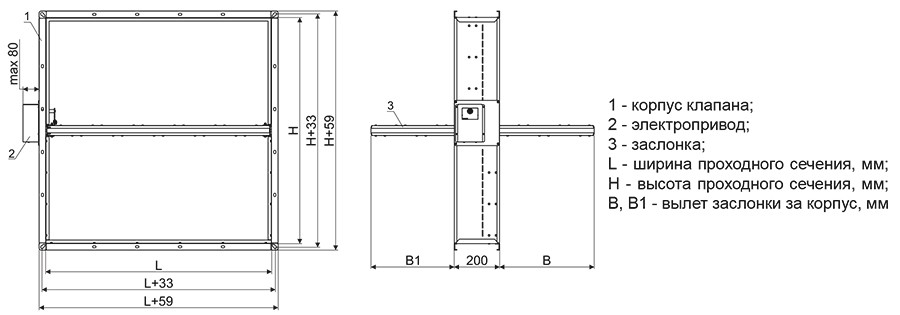
Клапаны ОЗ-60, ОЗ-90 прямоугольного сечения канального типа

Клапаны ОЗ-60, ОЗ-90 прямоугольного сечения канального типа.jpg

Зависимость вылета заслонок (B, B1) от высоты (H)

H, мм

100

150

200

250

300

350

400

450

500

550

600

650

700

750

800

850

900

950

1000

B, мм

0

0

20

45

70

95

120

145

170

195

220

245

270

295

320

345

370

395

420

B1, мм

0

0

0

0

20

45

70

95

120

145

170

195

220

245

270

295

320

345

370

Клапаны ОЗ-120, ОЗ-180 прямоугольного сечения канального типа

Клапаны ОЗ-120, ОЗ-180 прямоугольного сечения канального типа.jpg

Зависимость вылета заслонок (B, B1) от высоты (H)

Н, мм

100

150

200

250

300

350

400

450

500

550

600

650

700

750

800

850

900

950

1000

B, мм

0

0

10

35

60

85

110

135

160

185

210

235

260

285

310

335

360

385

410

B1, мм

0

0

0

0

0

0

0

0

0

0

0

0

10

35

60

85

110

135

160

Клапаны ОЗ прямоугольного сечения канального типа в кассетном исполнении

Клапаны ОЗ прямоугольного сечения канального типа в кассетном исполнении.jpg

Клапаны ОЗ-60, ОЗ-90, ОЗ-120 прямоугольного сечения стенового типа

Клапаны ОЗ-60, ОЗ-90, ОЗ-120 прямоугольного сечения стенового типа.jpg

Зависимость количества заслонок (n) и их вылета (B) от ширины (L)

L, мм

250

300

350

400

450

500

550

600

650

700

750

800

850

900

950

1000

900

950

1000

B, мм

0

0

10

35

60

85

110

135

160

185

210

235

260

285

310

335

370

395

420

n, шт

1

1

1

1

1

1

1

2

2

2

2

2

2

2

2

2

320

345

370

Клапаны ОЗ прямоугольного сечения стенового типа в кассетном исполнении

Клапаны ОЗ прямоугольного сечения стенового типа в кассетном исполнении.jpg

Клапаны противопожарные ОЗ круглого сечения

Клапаны противопожарные ОЗ круглого сечения изготавливаются только канального типа с расположением привода снаружи.

Типоразмерный ряд клапанов круглого сечения

Тип клапана

Обозначение клапана

Типоразмерный ряд по диаметру проходного сечения (D), мм

Канальный

ОЗ-60, ОЗ-90, ОЗ-120

100; 125; 140; 160; 180; 200; 225; 250; 280; 315; 355; 400; 450; 500; 560; 630; 710; 800

Маркировка ОЗ круглые.jpg

Примеры записи:
- ОЗ-90-НО-560(М-Iк/220)-К-СН-ТРУ
- ОЗ-120-НО-450(ЭМ/220)-К-СН-ТРУ-фл3
- ОЗ-120-Н3-630(Р-Iк/220)-К-СН-фл3

Клапан ОЗ-60, ОЗ-90 круглого сечения

Клапан ОЗ-60, ОЗ-90 круглого сечения.jpg

Зависимость вылета заслонки от диаметра сечения клапанов

D, мм

100

125

140

160

180

200

225

250

280

315

355

400

450

500

560

630

710

800

B, мм

0

0

0

0

0

0

0

0

10

25

45

70

95

120

150

185

225

270

B1, мм

0

0

0

0

0

0

0

0

0

0

0

0

25

50

80

115

155

200

D1, мм

125

150

170

185

200

235

253

286

309

349

384

434

479

534

589

665

739

829

Клапан ОЗ-120 круглого сечения

Клапан ОЗ-120 круглого сечения.jpg

Зависимость вылета заслонки от диаметра сечения клапанов

D, мм

100

125

140

160

180

200

225

250

280

315

355

400

450

500

560

630

710

800

B, мм

0

0

0

0

0

0

0

0

15

35

55

75

100

125

155

190

230

280

B1, мм

0

0

0

0

0

0

0

0

0

0

0

0

0

0

0

0

10

55

D1, мм

125

150

170

185

200

235

253

286

309

349

384

434

479

534

589

665

739

829

Характеристики приводов производства РОВЕН и электромагнитных приводов

Модель привода

Время поворота, с

Крутящий момент, Нм

Напряжение, В

Потребляемая мощность, Вт

Масса, кг

Степень защиты

во время вращения

в состоянии покоя

Электроприводы РОВЕН

RLE10-24S(H)

<45

10

24

5,0

0,5

<1,8

IP54

RLE10-220S(H)

220

RLF03-24S(H)

<75 (пружина <25)

3

24

5,0

3,0

<1,3

IP54

RLF03-220S(H)

220

RLF05-24S(H)

<70 (пружина <20)

5

24

5,0

3,0

<2,0

IP54

RLF05-220S(H)

220

Электромагнитные приводы

ЭМП18К-24

60

4

24

350

-

1,3

IP20

ЭМП23-24

ЭМП18К-230

60

4

220

30

-

1,3

IP20

ЭМП23-230

Электрические схемы подключения клапанов ОЗ

Электрические схемы подключения клапанов ОЗ.jpg

Не представленные в наличии модели доступны к поставке под заказ

Оповестить о поступлении

Спасибо за обращение!
Наш менеджер свяжется с вами.

Всю необходимую информацию также можно получить по телефону «горячей линии»

+ 7 800 200 93 96

или по телефону

+7 800 505 08 67 получить консультацию